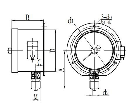
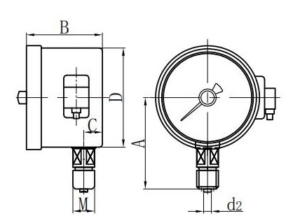
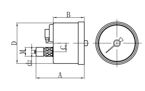
◆ Modell: YXD100 YXD150
◆ Használat: Ez a fajta műszer helyettesíti az elektromos érintkezési nyomásmérőjét, megtartja az elektromos érintkezési nyomásmérő előnyeit, amelyek intuitívak, könnyen beállíthatók, és a műszer alapvető javulást hajtott végre, a fotoelektromos érzékelő használatát az érintés nélküli jelző eszköz kialakításához, a fotoelektromos vezérlőről a nagymértékben történő pontozáshoz, a nagy érzékenységi pontosságon keresztül, a nagy érzékenységi pontosság, a nagy érzékenységi pontok, a nagy érzékenységi pontok, a nagy érzékenységi pontok, a nagy érzékenységi pontok meghajtásához, Jellemzők. Széles körben használják a kőolajban, a vegyiparban, a kohászatban, az atomenergia -technológiában és a gyakori váltási folyamatban.
A műszer alkalmas stabil és megbízható mérésre és a folyadékok, gázok vagy gőzök nyomására és a robbanásveszély, a nem kristályosodás, a nem megszilárdítás és a réz- és rézötvözetekre gyakorolt nem korrózió nélküli hatás ellenőrzésére.
◆ Ha szükség van egy ütésálló típusú nyomásmérővel, akkor azt glicerin vagy szilikonolajjal tölthető meg.





















